过滤器,混合器-日本独资·博亚体育app入口!
HOME | EMAIL |  MAP
 
乳化机-博亚体育app入口产品展示
 
博亚体育app入口
博亚体育app入口
博亚体育app入口
博亚体育app入口
博亚体育app入口
博亚体育app入口
博亚体育app入口
博亚体育app入口
博亚体育app入口
 
     
  混合机_混合器_乳化机_过滤器_
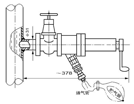
DS采样器(サンプリング器)
  DS型采样器参考日本技术制造,适用于石油、化工装置中对管道内工艺状况的各种介质,尤其是有毒、有害、易燃、易爆等危害性的中、低压气、液介质的无泄露采样。样品真实性强,无残液、残气排放。符合国家环保、安全规范的要求。博亚体育app入口已在国内石油化工工艺装置、如渣油加氢、重油催化,气体分馏等装置中采用,获得了一致好评。
结构特点与使用方法:
  DSP型在线式采样器,主要由应急阀、传动丝杆、阀体、丝杆支架、手柄、柱塞、出液管(采气接头)、密封组件及联接法兰组成,由于柱塞贯穿于阀体及联接法兰之中,保证了每次采到真实样品,也消除了凝堵的因素。
型号、适用范围:
  (1)将贮样瓶瓶口对准采样器的出液管口。
  (2)逆时针方向慢慢旋转采样器手柄至出液口流出介质为止。
  (3)等样品采足后,立即顺时针方向旋转采样器手柄至丝杆全部旋入为止。
DSP型在线式采样器:
1、DSP-IA型液体在线式采样器
型号
规格
联接方式
适用温度
DSP-IA-W
(DSP-IA-F法兰连接)
DN20
PN1.6;PN2.5
PN4.0;PN6.4
PN2.0;PN5.0
焊接连接
法兰连接也可
-20至200
2、DSP-IB型液体在线式采样器
型号
规格
联接方式
适用温度
DSP-IB-W
(DSP-IB-F法兰连接)
DN20
PN1.6;PN2.5
PN4.0;PN6.4
PN2.0;PN5.0
焊接连接
法兰连接也可
-20至425
3、DSP-II型气体在线式采样器
型号
规格
联接方式
适用温度
DSP-II-W
(DSP-II-F法兰连接)
DN20
PN1.6;PN2.5
PN4.0;PN6.4
PN2.0;PN5.0
焊接连接
法兰连接也可
-20至425

 
 
 
博亚体育app入口

COPYRIGHT © 2004 日本独资·博亚体育app入口 版权所有 苏ICP备05009106号

博亚体育app入口主要产品混合机_混合器_乳化机_搅拌机_分散机_阻火器_呼吸阀_输送机