过滤器,混合器-日本独资·博亚体育app入口!
HOME | EMAIL |  MAP
 
乳化机-博亚体育app入口产品展示
 
博亚体育app入口
博亚体育app入口
博亚体育app入口
博亚体育app入口
博亚体育app入口
博亚体育app入口
博亚体育app入口
博亚体育app入口
博亚体育app入口
 
     
  混合机_混合器_乳化机_过滤器_
滤芯式精细过滤器
金属滤芯精细过滤器DJM型:
DJM型精细过滤器应用实例:
炼油行业
催化重整装置再生气过滤
加氢精制装置,新氢、循环氢过滤、原料油、成品油过滤
干气脱硫装置中,干气过滤,贫液、富液过滤
油品调合中润滑油的过滤
石油化工行业
乙烯、丙烯、丁二烯、乙炔、甲苯、二甲苯等原料过滤。
丙酮、乙醇、甘油等过滤。
化工行业
各类溶剂,已内酰胺、酯、醇及一般浓度的酸碱等原料的过滤。
制药行业
无菌空气设备及蒸气等过滤。
化纤行业中各类高分子聚合物过滤。
博亚体育app入口
不锈钢纤维烧结滤芯精细过滤器DJM-I型
  DJM-1型精细过滤器,其滤件采用不锈钢纤维烧结毡经折叠制成的管状滤芯,具有处理量大,过滤精度高,压降小,并且可清洗再用的优点。用于液体或气体过滤。
DJM-I型精细过滤器典型适用范围

介质

过滤精度μm

流量

温度℃

工作压力MPa

压力损失MPa

粘度cp

气体

0.3-100

0.5-650m3/min

≤500

≤7.0

1X10-4-0.5

0.01-0.1

液体

3-60

1-240m3/h

≤300

≤7.0

0.002-0.45

0.5-1000

聚酯类

3-60

1-110kg/min

260-430

≤7.0

0.7-10.5

≤105

多层不锈钢纤维烧结滤芯精细过滤器DJM-II型
  DJM-1I型精细过滤器,其滤件采用五层不锈钢烧结网滤材,具有过滤能力大,过滤精度高,压损小,工艺过程稳定可靠的特点,尤其是该滤件特别优异的清洗再生功能,因而DJM-II型精细过滤器成为最好的可清洗过滤器,从而确保过滤系统实现长期连续运行的目的。可用于液体或气体过滤。
DJM-II型精细过滤器典型适用范围

介质

过滤精度μm

流量m3/h

温度℃

工作压力MPa

压力损失MPa

粘度cp

气体

1-100

10-2X104

≤480

≤4.0

1X10-3-0.2

0.01-0.1

液体

5-500

1-200

≤480

≤4.0

0.001-0.3

0.3-100

金属粉末烧结滤芯精细过滤器DJM-III型
  DJM-III型精细过滤器的核心是微孔粉末烧结管,具有耐高温、耐腐蚀、孔径均匀稳定、透气性好、可清洗再用等特点。用于液体或气体过滤。
  DJM-III型精细过滤器适用于过滤精度0.01-100μm液体、气体过滤。
  DJM-III型精细过滤器主要用于导热油、液压油过滤、无菌气体制备。

精细过滤器并联切换反冲洗过滤系统DJM-D型
  本过滤系统由于采用可清洗再生的金属滤芯做过滤元件,从而能够实现系统长期平稳连续运行的目的。其操作方式有手动的PLC程控两中,其基本工作原理如图。

非金属滤芯精细过滤器DJN型:
博亚体育app入口
DRYE
博亚体育app入口
(一)线缠绕式精细过滤器(DJN-I型)
  其滤件是由纺织纤维纱精密缠在多孔骨架上,控制滤层缠绕密度及滤孔形状而形成不同过滤精度的滤芯,具有优良的深层过滤效果,良好的化学相容性。线缠绕式精细过滤器能有效除去液体中悬浮、微粒。广泛应用于各种水处理,油田修井液及注水、化学药液、酸、碱性溶液、溶剂、洗涤液及磁性等过滤。
(二)聚丙烯纤维毡折叠式精细过滤器(DJN-II型)
  其滤件是有聚丙烯超细纤维毡经折叠而制成。聚丙烯纤维毡折叠精细过滤器具有处理量大、过滤效率高、阻力小、无纤维脱离、可杀菌消毒而广泛应用于电子工业、医药工业、化学工业、食品饮料工业、机械工业等液体过滤。
(三)微孔塑料滤芯精细过滤器结(DJN-III型)
  其滤件是由高分子量聚乙烯烧结成型。具有刚性好、重量轻、孔隙率高、可反冲洗再生、无毒、耐蚀。由微孔塑料滤芯构成精细过滤器,适用于水处理、酸、碱液、有机溶剂、药液、油类等液体过滤。
非金属滤芯精细过滤器滤件性能

型号

滤件名称

滤件材料

过滤精度μm

耐温℃

耐压MPa

DJN-I

线缠绕式滤芯

聚丙烯纤维
棉纤维
聚丙烯晴纤维

0.5-100

60(聚丙烯骨架)
120(不锈钢骨架棉滤层)

0.5

DJN-II

聚丙烯纤维滤芯

聚丙烯纤维

1-100

60

0.4

DJN-III

微孔塑料滤芯

聚乙烯

0.5-100

60

0.4

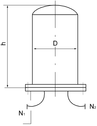
(四)非金属滤芯精细过滤器结构尺寸
非金属滤芯精细过滤器结构尺寸(典型结构I)

型号

流量m3/h

过滤精度μm

工作压力MPa

安装尺寸

h

D

进出口N1N2

DJN-I

1-5

1-100

0.6

910

φ219

DN32 PN1.0

DJN-II

5-10

1420

φ273

DN40 PN1.0

DJN-III

10-20

1420

φ350

DN50 PN1.0

注:表中流量范围为各过滤精度1-100μm,以水为介质的流量。
选用的流量应大于实需流量的1.5-2倍为宜。
非金属滤芯精细过滤器结构尺寸(典型结构II)

型号

流量m3/h

过滤精度μm

工作压力MPa

安装尺寸

h

D

L

进出口N1N2

DJN-I

DJN-II

DJN-III

40-60

1-100

0.6

2210

φ500

740

DN125 PN1.0

60-90

2300

φ600

840

DN150 PN1.0

90-110

2430

φ700

1010

DN150 PN1.0

110-130

2550

φ800

1110

DN200 PN1.0

注:表中流量范围为各过滤精度1-100μm,以水为介质的流量。
选用的流量应大于实需流量的1.5-2倍为宜。

 
 
 
博亚体育app入口

COPYRIGHT © 2004 日本独资·博亚体育app入口 版权所有 苏ICP备05009106号

博亚体育app入口主要产品混合机_混合器_乳化机_搅拌机_分散机_阻火器_呼吸阀_输送机